• 正文
  • 附件下载
  • 相关推荐
申请入驻 产业图谱

圣邦微推出车规级理想二极管控制器SGM25733Q

原创
09/03 15:54
1349
加入交流群
扫码加入
获取工程师必备礼包
参与热点资讯讨论

圣邦微电子推出的SGM25733Q是一款面向汽车电子系统的耐反向电压输入、低静态电流车规级理想二极管控制器。该器件可广泛用于汽车信息娱乐系统(包括数字仪表盘与主机)、冗余电源系统中的有源“或”逻辑电路ADAS摄像头集成、企业级电源管理以及工业自动化中的PLC集成等应用场景。

SGM25733Q通过搭配外部NMOS管实现高效的低损耗反极性保护,其正向压降低至20mV,可显著提升系统能效。

图 | SGM25733Q 典型应用电路;来源:圣邦微官微

该控制器支持3.2V至65V的宽输入电压范围,可兼容12V、24V及48V等多种汽车直流总线电压,并具备低至3.2V的冷启动适应能力,确保在严苛的汽车启动条件下依然稳定工作。同时,它能够有效防护低至-65V的反向电压,保障负载安全。

借助其控制架构,SGM25733Q可精准调节外部MOSFET栅极以维持20mV的正向压降,并在检测到反向电流时迅速关断MOSFET,杜绝稳态反向电流的出现。其反向电流阻断响应时间小于0.88μs,适用于需通过ISO7637脉冲测试、应对输入微短路与电源故障等要求保持输出电压稳定的场合。

该器件集成电荷泵栅极驱动器以推动外部NMOS,其高耐压特性有助于系统满足汽车EMC及ISO7637瞬态干扰标准。在使能引脚为低电平时,器件进入关断模式,静态电流仅1.2μA;在启用状态下,工作静态电流为98μA,关断峰值电流可达1.8A。

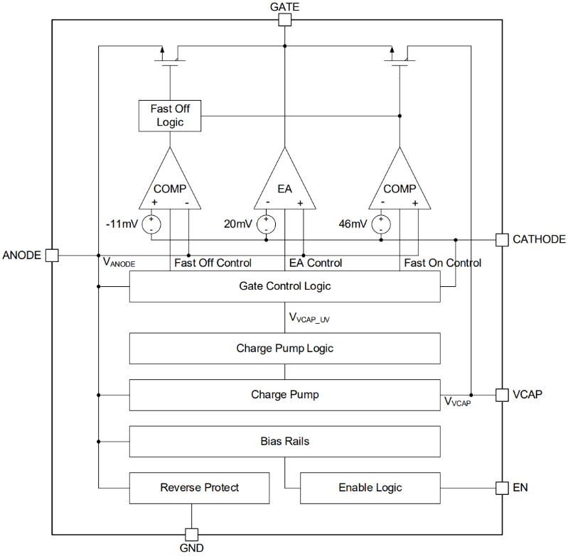
图 | ?SGM25733Q 功能框图;来源:圣邦微官微

SGM25733Q符合AEC-Q100 Grade 1汽车级认证,支持-40℃至+125℃的工作温度范围,并提供相关文档协助实现功能安全系统设计。此外,该器件搭配合适TVS二极管后可满足ISO7637瞬态要求,采用环保的SOT-23-6封装,非常适合高可靠性的汽车电子应用。

产品特性

  • 符合 AEC-Q100 汽车应用标准
    器件温度等级 1
    TA = -40℃ 至 +125℃
  • 功能安全
  • 提供文档,协助进行功能安全系统设计
  • 3.2V 至 65V 输入范围(3.9V 启动)
  • -65V 反向电压额定值
  • 用于外部 NMOS 的电荷泵
  • 阳极至阴极正向压降调节至 20mV
  • 使能引脚特性
  • 1.2μA 关断电流(EN = 低电平)
  • 98μA 工作静态电流(EN = 高电平
  • 1.8A 峰值栅极关断电流
  • 快速反向电流响应时间
    阻断时间:< 0.88μs
  • 符合汽车 ISO7637 瞬态要求,并配备合适的 TVS 二极管
  • 采用绿色 SOT-23-6 封装

产品应用范围

  • 汽车信息娱乐系统:数字仪表盘和主机
  • 用于冗余电源系统的有源“或”电路
  • 汽车 ADAS 系统:摄像头集成
  • 企业电源
  • 工业工厂自动化:PLC 集成

来源: 与非网,作者: Supplyframe四方维,原文链接: /article/1886274.html

  • SGM25733Q.pdf
    下载
圣邦微电子

圣邦微电子

圣邦微电子(北京)股份有限公司(股票代码300661)专注于高性能、高品质模拟集成电路的研发和销售。

圣邦微电子(北京)股份有限公司(股票代码300661)专注于高性能、高品质模拟集成电路的研发和销售。收起

查看更多

相关推荐